FG型耐腐蝕不銹鋼螺桿泵介紹:
單螺桿泵在相對發達的國家,因其卓越的性能,在發達國家廣泛使用,并且在國內的的應用范圍在也擴大。它明顯的優點是對介質的適應性很強,流量十分平穩,壓力脈動比較小,自吸性能也很高。這些優點在其他的泵類產品中是很難替代的。永嘉縣泉達泵閥制造有限公司對國外(如:德、英、法、日本等國)生產的螺桿泵及國內同行業的產品,作了分析與研究,博取眾長,對自已的產進行不斷的改革創新。目前我單位的產品已自成一體系,壓力0.4∽1.2MPa,可滿足廣大用戶對螺桿泵的不同需求。單位熱忱為廣大用戶服務,接受用戶對特殊要求螺桿泵的設計和制造任務。
型號意義:
列入FG-30-1 F-不銹鋼 G-單螺桿泵 30-螺桿名義直徑(mm) 1-表示1級泵
使用范圍:
G型螺桿泵首要作業部件是偏心螺桿(轉子)和固定的襯套(定子)。選用無毒無味的食用橡膠,作業溫度可達120攝氏度,若是選用高溫120攝氏度—350攝氏度時可同本單位聯絡。因為該二部件的特別幾許最初別離構成獨自的密封容腔。介質由軸向均勻推廣活動。內部流速代低,容積堅持不變。壓力安穩,因此不會商品渦流和攪動。每級泵的輸出壓力為0.6MPa—1.2MPa,揚程60m—120m(清水),自吸高度通常在3m以上。
工作原理和特性:
不銹鋼螺桿泵是按迥轉嚙合容積式原理工作的新型螺桿泵。不銹鋼螺桿泵主要工作部件是偏心螺桿(轉子)和固定的襯套(定子)。由于該二部件的特殊幾何開頭分別形成單獨的密封容腔。介質由軸向均勻推行流動。內部流速低,容積保持不變。不銹鋼螺桿泵壓力穩定,因而不會產生渦流和攪動。
FG型耐腐蝕不銹鋼螺桿泵性能參數表:
1. 簡介:污泥螺桿泵即為單螺桿泵,它的主要工作部件是偏心螺旋體的螺桿(即轉子)和內表面呈雙線螺旋面的螺桿襯套(即定子)
污泥螺桿泵概述
污泥螺桿泵即為單螺桿泵在污泥污水處理中的具體應用,該泵利用偏心單螺旋的螺桿在雙螺旋襯套內的轉動,使污泥污水沿螺旋槽由吸入口推移至排出口,這就是污泥螺桿泵的工作原理。
2.污泥螺桿泵的工作原理
污泥螺桿泵是一種單螺桿式輸運泵,它的主要工作部件是偏心螺旋體的螺桿(稱轉子)和內表面呈雙線螺旋面的螺桿襯套(稱定子)。其工作原理是當電動機帶動泵軸轉動時,螺桿一方面繞本身的軸線旋轉,另一方面它又沿襯套內表面滾動,于是形成泵的密封腔室。螺桿每轉一周,密封腔內的液體向前推進一個螺距,隨著螺桿的連續轉動,液體螺旋形方式從一個密封腔壓向另一個密封腔,最后擠出泵體。螺桿泵是一種新型的輸送液體的機械,具有結構簡單、工作安全可靠、使用維修方便、出液連續均勻、壓力穩定等優點。
污泥螺桿泵是一種利用螺桿的旋轉來吸排液體的泵,它最適于吸排黏稠液體。
3.污泥螺桿泵優點
污泥螺桿泵即單螺桿泵具有螺桿泵共同的優點。它既適合輸送低粘度如水等介質,還尤其適合輸送含有固體顆?;蚨汤w維的懸浮液,以及粘度非常高的介質。[3]
1)壓力和流量范圍寬闊。壓力約在3.4-340千克力/cm 2,流量可達18600cm3/分;
2)運送液體的種類和粘度范圍寬廣;
3)因為污泥螺桿泵內的回轉部件慣性力較低,故可使用很高的轉速;
4)吸入性能好,具有自吸能力;
5)流量均勻連續,振動小,噪音低;
6)與其它回轉泵相比,對進入的氣體和污物不太敏感;
7)結構堅實,安裝保養容易。
4污泥螺桿泵應用范圍
單螺桿泵屬于容積式泵,轉子用不銹鋼或者40鉻,定子用中硬度橡膠制作,因而本泵最適用于帶固體顆粒的、濃稠介質的輸送,如污泥污水處理等行業使用。例如
1、 制糖廠的糖蜜、糖汁、庶渣、甜菜渣的輸送;
2、 罐頭廠的、食品廠的奶粉、淀粉、蜂蜜、咖啡、牛奶、奶油、食用油、各種維生素液、麥芽糖、蕃茄醬、果醬、蛋黃醬、冰淇淋等的裝料和輸送;
3、 釀造酒廠的酒類飲料、香料、發酵液的投料配料,壓濾機裝料糧食廢渣的輸送;
4、 魚類加工廠的魚肝油、魚油、魚松、魚渣的輸送;
5、 果品加工廠糖汁、果汁的輸送、柑桔、水果的搗爛,填料機的加料等;
6、 糧油加工廠的食油、大米及玉米淀粉等的裝填料及輸送;
7、 肉類加工廠、屠宰物;油脂、肉油攛取、裝箱、廢液的輸送;
8、 制藥廠:各種維生素液、藥液、乳劑的加料運輸,懸浮液、鹽水、鹽污泥、藥渣等輸送;
9、 化學工業:酸、堿液的輸送,各種懸浮液、油脂、膠液、各種化學染料、油漆、各種粘合劑、軟膏、漿料的投料、配料和輸送,尤其是一般離心式泵無法輸送的各種高粘度物料、或帶固體顆粒和物料本泵都能輸送;
10、 油墨的配料輸送;
11、 造紙廠的紙漿、墨液的輸送;
12、 石油化工廠的油類產品,油脂、廢液污泥的輸送;
13、 乙炔站電石污泥的輸送;
14、 建筑行業輸送灰漿、石灰乳、砂漿、水泥漿等;
15、 可用著并泵抽水、飼料加工過程中的輸送及裝投類;
16、 廣泛用于工業和生活的污水、污泥處理,污水中通常含有許多懸浮物有一定腐蝕性和粘度,往往含有固體顆粒,固而使用濃漿泵輸送是合適的;
17、 用于原子能發射站的污染水、污染液和其它物料的輸送;
18、 礦井排污水、污泥。[3]
5污泥螺桿泵使用指南
污泥螺桿泵的使用起動
1、 準備必要的扳手和工具。
2、 檢查機座,軸承和油腔無潤滑油。
3、 檢查空心軸血肉密封程度是否適當,填料壓蓋不可將盤根壓得過緊,允許呈滴狀滲出。
4、 用手或管子鉗轉動聯軸器,注意泵體內有無異物碰撞雜聲和卡死現象,如有應清除后方可開車。
5、 將料液注滿泵腔,切勿于摩擦運轉,以免扣球襯套。
6、 全開出液管的閘閥。
7、 開電動機。
污泥螺桿泵的停機
1、 關閉吸入管閥門。
2、 關閉排出管閥門。
3、 停止電機。
4、 當泵處于長期停止工作時,應將泵腔內料液放凈,并用水或蒸汽沖洗。
污泥螺桿泵運轉
1、 經常檢查泵和電機軸承溫升情況,最高溫度不應超過75℃。
2、 及時補充潤滑油,保證軸承潤滑良好。
3、 運轉過程中,如發現異常噪聲或過大振動應立即停機檢查,排除故障。
4、 當流量顯著減少,說明橡膠襯已磨損,應更換新襯套后再運轉.
6.污泥螺桿泵的主要故障及排除方法
|
故障
|
原因
|
排除方法
|
|
1、啟動困難
|
1、 料液未充滿泵腔,摩擦阻力較大。
2、 填料壓蓋壓得過緊,軸與填料之間有摩擦力矩過大。
|
1、 用管子鉗搬動聯軸器泵主軸3~6轉。
2、 調整填料壓蓋。
|
|
2、啟動后不出料液
|
1、 有大量空氣吸入;
2、 電動機轉向不對;
3、 料液粘度過大。
|
1、 檢查吸入口液位是否太低,吸入管是否漏氣;
2、 調接電動機的任意兩相進線;
3、 稀釋料液。
|
|
3、泵有圈套的振動或噪音
|
1、 電動機與泵軸不同心;
2、 泵內吸入空氣或料液混有大量空氣。
|
1、 重新調整同軸度;
2、 檢查料液位,設法排除吸入液中的空氣。
|
|
4、運行過程中,流量顯著下降
|
1、 襯套磨損,間隙增大。
2、 轉速降低。
3、 萬向聯軸節或繞軸損壞傳動失效;
4、 吸入管路浸入液體深度不夠,有空氣進入泵內。
|
1、 更換襯套,必要時換螺桿;
2、 檢查電源和電機;
3、 停機檢修,更換軸聯軸節或繞軸;
4、 減小吸入高度,增加浸入深度,拔除吸入料液中空氣。
|
|
5、電動機超載
|
1、 揚程超過泵的揚程式過多;
2、 料液粘度太大。
3、 電壓太低。
|
1、 盡量減小管路水頭損失,或更換高揚程泵。
2、 稀釋料液;
3、 檢查原因,提高電壓至規定值。
|
|
6、軸封填料處大量漏液
|
1、 壓蓋過松;
2、 填料磨損;
3、 進出口位置相反。
|
1、 調整壓蓋;
2、 更換填料;
3、 以中間法蘭口為吸入口。
|
|
型號 |
流量
(m3/h) |
壓力
(Mpa) |
允許最
高轉數
(r/min) |
電機
功率
(kw) |
必需汽
蝕余量
(m) |
進口法
蘭通徑
(mm)
|
出口法
蘭通徑
(mm) |
允許顆
粒直徑
(mm) |
允許纖
維長度
(mm) |
|
G20-1 |
0.8 |
0.6 |
960 |
0.75 |
4 |
25 |
25 |
1.5 |
25 |
|
G20-2 |
1.2 |
1.5 |
|
G25-1 |
2 |
0.6 |
960 |
1.5 |
40 |
32 |
2 |
30 |
|
G25-2 |
1.2 |
2.2 |
|
G30-1 |
5 |
0.6 |
960 |
2.2 |
50 |
40 |
2.5 |
35 |
|
G30-2 |
1.2 |
3 |
|
G35-1 |
8 |
0.6 |
960 |
3 |
65 |
50 |
3 |
40 |
|
G35-2 |
1.2 |
4 |
|
G40-1 |
12 |
0.6 |
960 |
4 |
80 |
65 |
3.8 |
45 |
|
G40-2 |
1.2 |
5.5 |
|
G50-1 |
14 |
0.6 |
720 |
5.5 |
4.5 |
100 |
80 |
5 |
50 |
|
G50-2 |
1.2 |
7.5 |
|
G60-1 |
22 |
0.6 |
720 |
11 |
5 |
125 |
100 |
6 |
60 |
|
G60-2 |
1.2 |
15 |
|
G70-1 |
38 |
0.6 |
720 |
11 |
150 |
125 |
8 |
70 |
|
G70-2 |
1.2 |
18.5 |
|
G85-1 |
56 |
0.6 |
630 |
15 |
150 |
150 |
10 |
80 |
|
G85-2 |
1.2 |
30 |
|
G105-1 |
100 |
0.6 |
500 |
30 |
200 |
200 |
15 |
110 |
|
G105-2 |
1.2 |
55 |
|
G135-1 |
150 |
0.6 |
400 |
45 |
250 |
250 |
20 |
150 |
|
G135-2 |
1.2 |
90
|
螺桿泵與其它泵類的比較

1、與離心泵相比螺桿泵無需安裝閥門,流量是穩定的線性流動;
2、與柱塞泵相比不銹鋼螺桿泵具有自吸能力強、吸入高度強;
3、與隔膜泵相比螺桿泵可輸送各種混合雜質含有氣體及固體顆粒或纖維的介質,也可輸送各種腐蝕性物質;
4、與齒輪油泵相比,不銹鋼螺桿泵可輸送高粘度的物質;
5、與柱塞泵,隔膜泵及齒輪泵不同的是,不銹鋼螺桿泵可用于藥劑填充和計量。
耐腐蝕螺桿泵每級泵的輸出壓力為0.6Mpa,揚程60m (清水),自吸高度一般在3m以上。因定子選用多種彈性材料制成,所以這種泵對高粘度流體的輸送和含有硬質懸浮顆粒介質或含有纖維介質的輸送,有一般泵種所不能勝任的特性。其流量與轉速成正比。
不銹鋼螺桿泵結構緊湊,體積小,維修簡便。對介質的適應性強,流量平穩,壓力脈動小,自吸能力高。工作溫度可達120℃,如果需輸送120℃-350℃高溫介質,可定做。廣泛用于食品、冶金、造紙、印染、化工、化肥、制藥等工業部門。
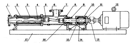
FG型耐腐蝕不銹鋼螺桿泵結構圖:
1 出料腔 2 拉桿 3 螺桿膠套 4 螺桿軸 5 萬向節總成 6 吸入口體
7 連節軸 8 填料器 9 填料壓蓋 10 軸承座 11 軸承蓋 12 電機
13 連軸器 14 軸套 15 軸承 16 傳動主軸 17 底座
相關關鍵詞:FG型耐腐蝕不銹鋼螺桿泵,FG型不銹鋼螺桿泵,FG型耐腐蝕螺桿泵
FG型耐腐蝕不銹鋼螺桿泵訂貨請盡量提供:
1.型號2.口徑3.揚程(m)4.流量5.電機功率(KW)6.轉速(R/min)7.材質是否帶附件8.電壓(V)

感謝訪問泉達,我公司主要生產管道泵,自吸泵,排污泵等產品